Сборка устройства
Трансформатор
Теперь обо всем по порядку. Силовой трансформатор марки ТС-160 или ТС-180 можно достать из старых черно-белых телевизоров «Рекорд», но такового я не нашел и пошел в радиомагазин. Давайте разглядим его поближе.
Вот лепестки, куда паяются выводы обмоток трансформатора.
А вот здесь прямо на трансформаторе есть табличка, на каких лепестках какое напряжение. Это значит, что если подать на лепесток № 1 и 8 220 Вольт, то на лепестках №3 и 6 мы получим 33 Вольта и максимальную силу тока в нагрузку 0,33 Ампера и тд. Но нас больше всего интересуют обмотки №13 и 14. На них мы можем получить 6,55 Вольт и максимальную силу тока 7,5 Ампер.
Для того, чтобы заряжать аккумулятор нам как раз потребуется большая сила тока. Но напряжения то у нас не хватает… Аккумулятор выдает 12 Вольт, но для того, чтобы его зарядить, напряжение зарядки должно превышать напряжение аккумулятора. 6,55 Вольт здесь никак не сгодится. Зарядное устройство нам должно выдавать 13-16 Вольт . Поэтому, мы прибегаем к очень хитрому решению.
Как вы заметили, трансформатор состоит из двух колон. Каждая колонна дублирует другую колонну. Места, где выходят выводы обмоток пронумерованы. Для того, чтобы увеличить напряжение, нам нужно просто-напросто соединить две обмотки последовательно. Для этого соединяем обмотки 13 и 13′ и снимаем напряжение с обмоток 14 и 14′. 6,55 + 6,55 = 13,1 Вольт. Вот такое переменное напряжение мы получим.
Диодный мост
Для того, чтобы выпрямить переменное напряжение, мы используем диодный мост. Собираем диодный мост на мощных диодах, потому как через них будет проходить приличная сила тока. Для этого нам потребуются диоды Д242А или какие-нибудь другие, рассчитанные на ток от 5 Ампер. Через наши силовые диоды может течь прямой ток до 10 Ампер, что идеально подходит нашему самопальному заряднику.
Также можно отдельно купить диодный мост сразу готовым модулем. В самый раз подойдет диодный мост КВРС5010, который можно купить на Али по этой ссылке или в ближайшем радиомагазине
Полностью посаженный аккумулятор обладает низким напряжением. По мере зарядки напряжение на нем становится все больше и больше. Следовательно, у нас сила тока в цепи в самом начале зарядки будет очень большая, а потом пойдет на убыль. Согласно Закону Джоуля-Ленца, при большой силе тока будет происходить нагрев диодов. Поэтому, чтобы их не спалить, нужно отбирать от них тепло и рассеивать в окружающем пространстве. Для этого нам нужны радиаторы. В качестве радиатора я разобрал нерабочий компьютерный блок питания, разрезал на полоски жестянку и прикрутил к ним по диоду.
Амперметр
Для чего в схеме амперметр? Для того, чтобы контролировать процесс зарядки. Не забудьте подключить амперметр последовательно нагрузке.
Когда аккумулятор полностью разряжен, он начинает жрать (слово «кушать» думаю здесь неуместно) ток. Жрет он порядка 4-5 Ампер. По мере зарядки он кушает все меньше и меньше силы тока. Поэтому, когда стрелка прибора покажет на 1 Ампер, то аккумулятор можно считать заряженным. Все гениально и просто :-).
Крокодилы
Выводим два крокодила для клемм аккумулятора с нашего зарядного устройства. При зарядке не путайте полярность. Лучше как-нибудь пометить их или взять разных цветов.
Если все правильно собрано, то на крокодилах мы должны увидеть вот такую форму сигнала (по идее верхушки должны быть сглажены, так как синусоида), но разве что-то предъявишь нашему провайдеру электричества ))). В первый раз видите что-то подобное? Бегом сюда!
Импульсы постоянного напряжения лучше заряжают аккумулятор, чем чистый постоянный ток. А как получить чистый постоянный ток из переменного описано в статье Как получить из переменного напряжения постоянное.
Полезный совет
При использовании устройств без автоматического контроля заряда АКБ можно применить простейшее сетевое, суточное реле китайского производства. Это избавит от необходимости следить за временем отключения блока от сети.
Стоимость такого прибора около 200 рублей. Зная примерное время зарядки своего аккумулятора, можно выставить нужное время отключения. Это гарантирует своевременное прекращение подачи электричества. Можно отвлечься на дела и забыть о АКБ, что может привести к закипанию, разрушению пластин и выходу аккумулятора из строя. Новый аккумулятор будет стоить гораздо дороже
Технические данные
- Напряжение питающей сети — 220 ± 22 В;
- Частота сети — 50 ± 05 Гц;
- Диапазон установки тока заряда — 0,5 — 6,3 А;
- Потребляемая мощность, не более -150 Вт;
На лицевой панели расположены:
- светодиод «СЕТЬ», сигнализирующий о включении устройства в сеть;
- амперметр — для контроля тока заряда;
- ручка для установки тока заряда;
- кнопка «РЕЖИМ» включающая устройство зарядное в автоматический или ручной режим заряда;
- кнопка «КОНТРОЛЬ»;
- светодиод «ЗАРЯД».
В верхней части корпуса, устройства имеется ниша, в которую укладывается сетевой шнур и кабели с контактными зажимами «+» и «-«, для подключения зарядного устройства к соответствующим клеммам аккумулятора.
В нише задней стенки устройства зарядного находятся предохранители.

Рис. 1. Внешний вид устройства зарядного «Электроника».


Рис. 3. Монтажная плата устройства зарядного «Электроника».

Рис. 4. Монтажная плата устройства зарядного автоматического «Электроника».
Табл. 1. Перечень элементов к принципиальной схеме прибора «УЗС-П-12-6,3».
Описание зарядного устройства
- Измерение напряжения аккумулятора.
- Измерение тока заряда и разряда. Ток измеряется датчиком тока на ОУ.
- Стабилизация зарядного тока на выбранном уровне. Алгоритм регулятора – пошаговый, управление током – ШИМ (Установка тока ведется из основного окна прибора.). 3.1 Выбор режима заряда – постоянным током или пульсирующем (десульфатация).
- Отключение заряда если напряжение достигло заданного уровня выбранном в меню.
- Стабилизация тока разряда на выбранном уровне в режиме разряда. Алгоритм регулятора – пошаговый, управление током – ШИМ.
- Подсчет Ампер*часов при разряде АБ. Разряд производится только после полной зарядки АБ. (При выборе режима разряд, если АБ не дозаряжен, автоматически производится дозаряд, а затем уже разряд с подсчетом Ампер*часов.)
- Включение подсветки дисплея (LIGHT). Выбор в меню. Параметр Подсветка вкл – подсветка включена всегда. В режиме авто выкл – подсветка включается при подаче питания на 30 сек и при нажатии на кнопки. Через 30 сек от последнего нажатия на кнопки подсветка отключается.
- При любой остановке программы подается прерывистый сигнал (0,5 Гц) на вывод 4 МК. Отключается сигнал нажатием кнопки старт.
- Программа отслеживает правильность установки напряжений. Минимальное напряжение (Umin) не может быть установлено выше либо равным максимальному (Umax). И наоборот.
- В режиме старт нажатие на кнопку PLUS или MINUS выводит на индикатор текущую информацию о состоянии процесса. В верхней строке ток и напряжение. В нижней строке оставшееся время (подробно) и выходная мощность в процентах.
Технические данные
- Напряжение питающей сети – 220 ± 22 В;
- Частота сети – 50 ± 05 Гц;
- Диапазон установки тока заряда – 0,5 – 6,3 А;
- Автоматическое отключение от аккумуляторной батареи через -10,5 ± 1 ч;
- Потребляемая мощность, не более -145 Вт;
- Переменное напряжение для питания переносной автомобильной лампы (12 или 36±2В).
На лицевой панели расположены:
- светодиод «СЕТЬ», сигнализирующий о включении устройства в сеть;
- индикатор тока для контроля тока заряда;
- кнопка включения устройства зарядного в режим заряда;
- ручка для установки тока заряда;
- светодиод, сигнализирующий об окончании цикла заряда.
На заднюю стенку устройства зарядного вынесен радиатор для охлаждения выпрямителя. На радиаторе установлены розетка для питания переносной лампы (12 или 36 В), электропаяльника и др., и предохранитель.
В нижней части корпуса, устройства имеется ниша, в которую укладывается сетевой шнур и кабели с контактными зажимами «+» и «-» для подключения зарядного устройства к соответствующим клеммам аккумулятора.

Рис. 1. Внешний вид устройства зарядного автоматического «Электроника».
Устройство изделия
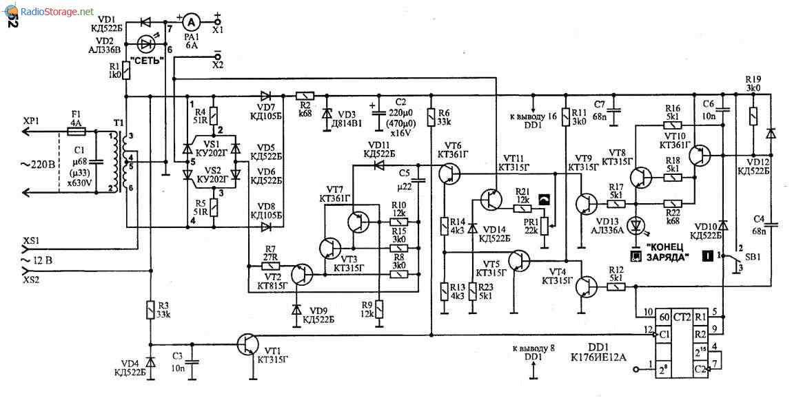
Устройство УЗ-А представляет собой выпрямитель с плавной установкой тока. С выводов 3, 6 сетевого трансформатора Т1 напряжение поступает на 2[-полупериодный управляемый выпрямитель, выполненный на тиристорах VS1 и VS2.
Выпрямленное напряжение подается на аккумуляторную батарею через контакты X1 («плюс») и Х2 («минус»). Для контроля величины тока заряда служит индикатор тока РА1.
Для отключения цепи заряда от аккумулятора через 10,5 ± 1 час, управления работой тиристоров и установки необходимого тока заряда служит схема, собранная на транзисторах VT1 + VT11 и микросхеме DD1.
На транзисторе VT1 выполнен формирователь импульсов с частотой 50 Гц, на интегральной схеме DD1 – счетчик импульсов, на транзисторах VT8 и VT10 – делитель частоты на 2, на транзисторе VT6 – управляемый генератор (стабилизатор) тока.
При этом необходимый ток заряда устанавливается потенциометром RP1.
Генератор управляющих импульсов выполнен на транзисторах VTЗ и VT7.
Транзистор VT2 является усилителем этих импульсов по мощности.

Рис. 2. Принципиальная схема устройства зарядного автоматического «Электроника» – вариант 1 (нумерация деталей выполнена согласно маркировке на заводской схеме).

Рис. 3. Принципиальная схема устройства зарядного автоматического «Электроника» – вариант 2 (нумерация деталей выполнена согласно маркировке на заводской плате).

Рис. 4. Монтажная плата устройства зарядного автоматического «Электроника».

Рис. 5. Монтажная плата устройства зарядного автоматического «Электроника».
На транзисторе VT11 выполнена схема защиты от короткого замыкания и переполюсовки выводов.
Схема на транзисторах VT4 и VT5 служит для переключения устройства в режим уменьшенного тока (через 6 – 8 часов ток уменьшится в 1,3 – 2,5 раза).
На диодах VD7 и VD8 собран выпрямитель питания схемы формирователя импульсов и счетчика. Диоды VD5 и VD6 запрещают подачу импульсов на управляющий электрод тиристора в момент, когда к тиристору приложено обратное напряжение.
Для индикации включения сети и конца заряда служат светодиоды VD2 и VD13.
Предприятие – изготовитель оставляет за собой право замены отдельных элементов схемы, не влияющих на технические характеристики изделия.
2 схемы советского ЗУ
Многие уже могли видеть советское зарядное устройство. Оно похоже на небольшую коробку из металла, и может показаться совсем ненадежной. Но это вовсе не так. Главное отличие советского образца от современных моделей — надежность. Оборудование обладает конструктивной мощностью. В том случае, если к старому устройству подсоединить электронный контроллер, то зарядник получится оживить. Но если под рукой такого уже нет, но есть желание его собрать, необходимо изучить схему.
К особенностям их оборудования относят мощный трансформатор и выпрямитель, с помощью которых получается быстро зарядить даже сильно разряженную батарею. Многие современные аппараты не смогут повторить этот эффект.
Итак, хочу рассказать о конструкции самого простого и самого надежного зарядного устройства для кислотных аккумуляторов. По сути, данное устройство может использоваться для зарядки буквально любых типов аккумуляторов. Я заряжал даже литий-полимерные и литий-ионные, в этом случае емкость конденсаторов нужна в разы меньше.
Представленная схема ЗУ для автомобильного аккумулятора не новая, известна достаточно давно, но мало кому приходило в голову создать на такой основе зарядное устройство для автомобильного аккумулятора.
Схема настолько компактная, что ее можно засунуть даже в корпус от китайского ночника. К слову ЗУ было собранно для преподавателя (ему огромное спасибо и низкий поклон, мало сейчас таких людей как он).
Схема не содержит никаких трансформаторов, не боится замыканий (можно замкнуть и оставить часами, ничего не перегорит), компактная и может работать месяцами, при этом не греется ни капли. Думаете сказка? А вот и нет! Зарядное устройство можно реализовать из подручного хлама всего за 10-15 минут.

Схема зарядного устройства для автомобильных аккумуляторов
Основа — бестрансформаторная зарядка, которую можно увидеть в китайских фонариках для зарядки встроенного кислотного аккумулятора (герметичный свинцово-гелиевый аккумулятор). Благодаря повышенной емкости аккумуляторов удалось на выходе получить ток в 1 Ампер. В моем варианте я использовал 4 конденсатора, все они рассчитаны на напряжение 250 Вольт, хотя желательно подобрать на 400 или 630 Вольт. Конденсаторы подключены параллельно, суммарная емкость составила порядка 8 мкФ.

Резистор подключенный параллельно конденсаторам нужен для разряжения последних, поскольку после выключения схемы на конденсаторах остается напряжение.
Диодный мост — был взят готовый из компьютерного блока питания, обратное напряжение 600 Вольт, максимально допустимый ток 6 Ампер, в ходе работы остается ледяным.
Светодиодный индикатор сообщает о наличии напряжения в сети.

Сейчас некоторые подумают, что 1Ампер зарядного тока слишком мало для автомобильного аккумулятора, но это не так и аккумулятор заряжается достаточно быстро. Напряжение на выходе такого зарядного устройства составляет 180-200 Вольт. Схема не вредит аккумулятору, такая зарядка даже полезна для него.
Не прикасайтесь выходных проводов включенного ЗУ, в противном случае получите поражение током, хотя и не смертельное.
Вот такое простое зарядное устройство можно использовать для зарядки кислотных аккумуляторов с емкостью от 0,5 до 120 Ампер.


Творите, радуйтесь и наслаждайтесь жизнью, поскольку она дана нам лишь раз, а я с вами прощаюсь.
Зарядное устройство (ЗУ) для аккумулятора необходимо каждому автолюбителю, но стоит оно немало, а регулярные профилактические поездки в автосервис не выход. Обслуживание батареи в СТО требует времени и денег. Кроме того, на разряженном аккумуляторе до сервиса ещё нужно доехать. Собрать своими руками работоспособное зарядное устройство для автомобильного аккумулятора своими руками сможет каждый, кто умеет пользоваться паяльником.
Причины и признаки разряда АКБ
В процессе эксплуатации аккумуляторной батареи при работе двигателя идет постоянный подзаряд АКБ от генератора автомобиля. Проверить процесс заряда можно, подключив к клеммам аккумулятора мультиметр при заведенном двигателе, измеряя напряжение зарядки автомобильного аккумулятора. Заряд считается нормальным, если напряжение на клеммах составляет от 13,5 до 14,5 Вольт.
Таблица уровня заряженности АКБ.
Вопрос эксперту
Каким должно быть минимальное напряжение АКБ?
Напряжение нормально заряженного аккумулятора во время стоянки должно быть не менее 12,5 Вольта. В том случае, если напряжение менее 11,5 Вольта, двигатель авто может не запуститься во время старта.
Для полного заряда требуется проехать на авто не менее 30 километров или примерно полчаса в городском ритме движения. Причины разряда аккумуляторной батареи:
- АКБ имеет значительный износ (более 5-ти лет эксплуатации);
- неправильная эксплуатация аккумулятора, приводящая к сульфатации пластин;
- длительная стоянка транспортного средства, особенно в холодное время года;
- городской ритм движения авто с частыми остановками, когда АКБ не успевает достаточно зарядиться;
- невыключенные электроприборы автомобиля во время стоянки;
- повреждение электропроводки и оборудования автомобиля;
- утечки по электроцепям.
Многие автовладельцы в комплекте бортового инструмента не имеют средств для измерения напряжения АКБ (вольтметр, мультиметр, пробник, сканер). В таком случае можно руководствоваться косвенными признаками разряда АКБ:
- тусклое свечение лампочек на приборной панели при включении зажигания;
- отсутствие вращения стартера при запуске двигателя;
- громкие щелчки в районе стартера, погасание лампочек на приборной панели при запуске;
- полное отсутствие реакции авто на включение зажигания.
При появлении перечисленных признаков в первую очередь необходимо проверить клеммы АКБ, при необходимости их почистить и поджать. В холодное время года можно попробовать занести на некоторое время аккумуляторную батарею в теплое помещение и его прогреть.
ЗУ своими руками.
Устройство изделия
Устройство УЗ-А представляет собой выпрямитель с плавной установкой тока. С выводов 3, 6 сетевого трансформатора Т1 напряжение поступает на 2[-полупериодный управляемый выпрямитель, выполненный на тиристорах VS1 и VS2.
Выпрямленное напряжение подается на аккумуляторную батарею через контакты X1 («плюс») и Х2 («минус»). Для контроля величины тока заряда служит индикатор тока РА1.
Для отключения цепи заряда от аккумулятора через 10,5 ± 1 час, управления работой тиристоров и установки необходимого тока заряда служит схема, собранная на транзисторах VT1 + VT11 и микросхеме DD1.
На транзисторе VT1 выполнен формирователь импульсов с частотой 50 Гц, на интегральной схеме DD1 — счетчик импульсов, на транзисторах VT8 и VT10 — делитель частоты на 2, на транзисторе VT6 — управляемый генератор (стабилизатор) тока.
При этом необходимый ток заряда устанавливается потенциометром RP1.
Генератор управляющих импульсов выполнен на транзисторах VTЗ и VT7.
Транзистор VT2 является усилителем этих импульсов по мощности.

Рис. 2. Принципиальная схема устройства зарядного автоматического «Электроника» — вариант 1 (нумерация деталей выполнена согласно маркировке на заводской схеме).

Рис. 3. Принципиальная схема устройства зарядного автоматического «Электроника» — вариант 2 (нумерация деталей выполнена согласно маркировке на заводской плате).

Рис. 4. Монтажная плата устройства зарядного автоматического «Электроника».

Рис. 5. Монтажная плата устройства зарядного автоматического «Электроника».
На транзисторе VT11 выполнена схема защиты от короткого замыкания и переполюсовки выводов.
Схема на транзисторах VT4 и VT5 служит для переключения устройства в режим уменьшенного тока (через 6 — 8 часов ток уменьшится в 1,3 — 2,5 раза).
На диодах VD7 и VD8 собран выпрямитель питания схемы формирователя импульсов и счетчика. Диоды VD5 и VD6 запрещают подачу импульсов на управляющий электрод тиристора в момент, когда к тиристору приложено обратное напряжение.
Для индикации включения сети и конца заряда служат светодиоды VD2 и VD13.
Предприятие — изготовитель оставляет за собой право замены отдельных элементов схемы, не влияющих на технические характеристики изделия.
Стоит ли самому чинить и где можно отремонтировать
Зарядное устройство является достаточно сложным прибором, и визуально обнаружить дефект удается далеко не всегда. К тому же, если даже обуглившийся элемент и найден, причина может быть в другом компоненте. Замена сгоревшей детали приведет лишь к повторению аварии. Поэтому для самостоятельного ремонта потребуются как минимум знания электроники и общие понятия о принципах построения зарядников. Также нужен минимальный приборный парк – мультиметр, а в некоторых случаях и осциллограф. Если какой-то из этих факторов отсутствует, за починку лучше не браться. Также нет особого смысла ремонтировать зарядники, где неисправность обнаружена в намоточных элементах (трансформаторах, дросселях), если нет прибора-донора. Перемотать их «на коленке» с заводским качеством не получится, особенно в устройствах импульсного типа.
Для наглядности рекомендуем тематических видеороликов.
Для ремонта можно обратиться к специалистам. И лучше всего, если есть возможность отнести или отправить неисправный зарядник в официальный сервисный центр. Если такой возможности нет, можно поискать специалиста в интернете – на досках объявлений или специализированных форумах. Также можно обратиться к знакомым или соседям по гаражу. Но если ЗУ попадет в руки самоучек, риск некачественного ремонта возрастает многократно.
Немного полезной информации
Аккумулятором называется накопитель электрического заряда. Во время подачи на него электрического напряжения, происходит накопление энергии, что объясняется химическими изменениями внутри батареи. При подключении источника потребления можно наблюдать обратный процесс, который обусловлен обратным химическим изменением, создающим напряжение в области клеммов устройства. Через нагрузку происходит прохождение тока. То есть, чтобы получить напряжение от аккумуляторной батареи, следует сначала ее зарядить.
Сам процесс заряда батареи происходит по определенным правилам и зависит от вида аккумулятора. Из-за нарушения данных правил возможно уменьшение срока эксплуатации батареи, а также ее емкости.
Именно поэтому параметры для зарядного устройства к автомобильному аккумулятору должны подбираться строго индивидуально, для определенного носителя энергии.
Это возможно в случае со сложными зарядными устройствами, имеющими регулируемые параметры, а также приобретая отдельное ЗУ специально под определенную батарею. Но есть более универсальный и практичный вариант – сделать зарядное устройство своими руками.

Простые схемы для зарядки самых разных аккумуляторов
Первые 2 схемы работают в линейном режиме, а линейный режим в первую очередь означает сильный нагрев. Но зарядное устройство вещь стационарная, а не портативная, чтобы КПД было решающим фактором, так что единственный минус представленных схем – это то, что они нуждаются в больших радиатор охлаждения, а в остальном все хорошо. Такие схемы всегда применялись и будут применяться, так как имеют неоспоримые плюсы: простота, низкая себестоимость, не «гадят» в сеть (как в случае импульсных схем) и высокая повторяемость.
Рассмотрим первую схему:
Дело в том, что даже без резистора максимальный ток на выходе микросхемы будет ограничен до указанного значения, резистор тут в большей степени для страховки, а его сопротивление снижено для минимизации потерь. Чем больше сопротивление, тем больше на нем будет падать напряжение, а это приведет к сильному нагреву резистора.
Микросхему обязательно устанавливают на массивный радиатор, на вход подается не стабилизированное напряжение до 30-35В, это чуть меньше максимально допустимого входного напряжения для микросхемы lm317. Нужно помнить, что микросхема lm317 может рассеять максимум 15-20Вт мощности, обязательно учитывайте это. Также нужно учитывать то, что максимальное выходное напряжение схемы будет на 2-3 вольта меньше входного.
Зарядка происходит стабильным напряжением, а ток не может быть больше выставленного порога. Данная схема может быть использована даже для зарядки литий-ионных аккумуляторов. При коротких замыканиях на выходе ничего страшного не произойдет, просто пойдет ограничение тока и, если охлаждение микросхемы хорошее, а разница входного и выходного напряжения небольшое, схема в таком режиме может проработать бесконечно долгое время.
Ее, а также печатные платы для 2-ух последующих схем можете скачать вместе с общим архивом проекта.
Вторая схема из себя представляет мощный стабилизированный источник питания с максимальным выходным током до 10А, была построена на базе первого варианта.
Максимальный выходной ток схемы зависит от сопротивления датчиков тока и тока коллектора использованного транзистора. В данном случае ток ограничен на уровне 7А.
Выходное напряжение схемы регулируется в диапазоне от 3 до 30В, что у позволит заряжать практически любые аккумуляторы. Регулируют выходное напряжение с помощью того же подстроечного резистора.
Этот вариант отлично подходит для зарядки автомобильных аккумуляторов, максимальный ток заряда с указанными на схеме компонентами составляет 10А.
Теперь давайте рассмотрим принцип работы схемы. При малых значениях тока силовой транзистор закрыт. При увеличении выходного тока падение напряжения на указанном резисторе становится достаточным и транзистор начинает открываться, и весь ток будет протекать по открытому переходу транзистора.
Естественно из-за линейного режима работы схема будет нагреваться, особенно жестко будут греться силовой транзистор и датчики тока. Транзистор с микросхемой lm317 прикручивают на общий массивный алюминиевый радиатор. Изолировать подложки теплоотвода не нужно, так как они общие.
Очень желательно и даже обязательно использование дополнительного вентилятора, если схема будет эксплуатироваться на больших токах.Для зарядки аккумуляторов, вращением подстроечного резистора нужно выставить напряжение окончания заряда и все. Максимальный ток заряда ограничен 10-амперами, по мере заряда батарей ток будет падать. Схема коротких замыканий не боится, при КЗ ток будет ограничен. Как и в случае первой схемы, если имеется хорошее охлаждение, то устройство сможет долговременно терпеть такой режим работы.Ну а теперь несколько тестов:
Получайте на почту подборку новых самоделок. Никакого спама, только полезные идеи!
*Заполняя форму вы соглашаетесь на обработку персональных данных
О деталях схемы автоматической зарядки

Диод Шоттки D2 можно взять из того же БП, из цепи +5В, которая у нас не используется. Элементы D2,Т1 иТ2 через изолирующие прокладки размещаются на одном радиаторе площадью 40 квадратных сантиметров. Звукоизлучатель — со встроенным генератором, на напряжение 8-12 В, громкость звучания можно подрегулировать резистором R13.
ЖКИ – WH1602 или аналогичный, на контроллере HD44780, KS0066 или совместимых с ними. К сожалению, эти индикаторы могут иметь разное расположение выводов, так что, возможно, придется разрабатывать печатную плату под свой экземпляр

Налаживание заключается в проверке и калибровке измерительной части. Подключаем к клеммам аккумулятор, либо блок питания напряжением 12-15В и вольтметр. Заходим в меню «Калибровка». Сверяем показания напряжения на индикаторе с показаниями вольтметра, при необходимости, корректируем кнопками « ». Нажимаем «Выбор».

Далее идет калибровка по току при КУ=10. Теми же кнопками « » нужно выставить нулевые показания тока. Нагрузка (аккумулятор) при этом автоматически отключается, так что ток заряда отсутствует. В идеальном случае там должны быть нули или очень близкие к нулю значения. Если это так, это говорит о точности резисторов R5, R6, R10, R11, R8 и хорошем качестве дифференциального усилителя. Нажимаем «Выбор». Аналогично — калибровка для КУ=200. «Выбор». На дисплее отобразится «Готово» и через 3 секунды устройство перейдет в главное меню. Поправочные коэффициенты хранятся в энергонезависимой памяти. Здесь стоит отметить, что если при самой первой калибровке значение напряжения на ЖКИ сильно отличается от показаний вольтметра, а токи при каком — либо КУ сильно отличаются от нуля, нужно подобрать другие резисторы делителя R5, R6, R10, R11, R8, иначе в работе устройства возможны сбои. При точных резисторах поправочные коэффициенты равны нулю или минимальны. На этом наладка заканчивается. И в заключение. Если же напряжение или ток зарядного устройства на каком-то этапе не возрастает до положенного уровня или устройство «выскакивает» в меню, нужно ещё раз внимательно проверить правильность доработки блока питания. Возможно, срабатывает защита.






























